شنبه 02 آذر 1404 - 12:50
سیستم ترمز بی سیم؛ اختراع جدید شیمانو برای دوچرخه های آینده
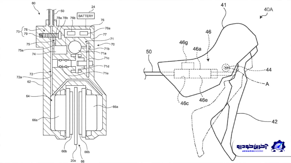
/ شرکت ژاپنی شیمانو که از بزرگترین سازندگان قطعات دوچرخه به شمار میرود، گواهی اختراع جدیدی را در رابطه با یک سیستم ترمز پیشرفته ثبت کرده است. در این سیستم خبری از کابل یا مجاری هیدرولیک نیست، بلکه عملکرد ترمز گیری به صورت الکترونیکی انجام میشود.
تکنولوژی ابداعی شیمانو در صورت عرضه نهایی احتمالاً شامل سه نوع سیستم مختلف خواهد بود. در سیستم اول که هیبریدی است، از ترکیب قطعات الکتریکی و هیدرولیکی استفاده میشود. سیستم دوم هم هیبریدی بوده و از مکانیسم الکترو مکانیکی در آن استفاده خواهد شد. اما سیستم سوم کاملاً الکتریکی است و تمامی قطعات ترمز به صورت برقی کار میکنند. جالب اینکه این سیستم به صورت بی سیم وظیفه خود را انجام میدهد!

تکنولوژی جدید شیمانو وابسته به باتری است. این موضوع میتواند خطراتی را در پی داشته باشد، زیرا در صورت تمام شدن باتری، فرایند ترمزگیری با اختلال مواجه خواهد شد. البته در دو سیستم هیبریدی به دلیل وجود ارتباط مکانیکی بین دسته ترمز و لنتها، دوچرخه سوار میتواند سرعت حرکت خود را کاهش دهد. اما در سیستم سوم که کاملاً الکتریکی است، تمام شدن شارژ باتری یا هرگونه اختلال در عملکرد آن ممکن است به معنای از دست رفتن قدرت ترمزگیری باشد. بدیهی است که این امر در یک سرازیری و یا هنگام حرکت در صورتهای بالا بسیار خطرناک بوده و میتواند به حوادث تلخ منجر شود.
پیش بینی میشود شیمانو در ترمز جدید خود از سیستمهای پیشرفتهای مثل ABS یا کنترل حرکت در سرازیری استفاده کند. باز هم باید اشاره کنیم که سیستم ترمز الکترونیکی شیمانو بی سیم بوده و خبری از ارتباطات فیزیکی در آن نیست. به عبارت دقیقتر اهرمهای موجود روی فرمان با کالیپرها و دیسکها به صورت بی سیم در ارتباط هستند و دستورهای دوچرخهسوار از طریق سیگنالهای الکترونیکی به ترمزها منتقل میشود.

با توجه به این محدودیتها، احتمال میرود شیمانو از تکنولوژی جدید خود در دوچرخههای برقی مخصوص حمل لوازم و تحویل کالا استفاده کند، چرا که نصب چنین سیستمی روی دوچرخههای کوهستان یا دوچرخههای جادهای با ریسکهایی همراه است.
پربیننده ترین
-
عکس مسی درآمد؛ آخرین توپ طلا با آرایشگر ویژه!
-
10 جایزه 5 میلیون تومانی برای کاربران آخرین خبر (مهلت شرکت در مسابقه تا 9 آذر تمدید شد.)
-
10 جایزه 5 میلیون تومانی برای کاربران آخرین خبر (مهلت شرکت در مسابقه تا 9 آذر تمدید شد.)
-
چراغ قوه همه کاره ( پاور بانک، شیشه شکن و ... )
-
هشدار آبفای کشور به مردم؛ هیچ ماموری فعلا برای قرائت کنتور آب مراجعه نمیکند
-
آخرین وضعیت راهها در چهارمین روز از سال جدید؛ محور چالوس از شنبه دوباره بسته میشود
-
جارو شارژی !! دیگه نگران نظافت ماشین نباشید
-
زنده؛ بیرانوند در یک قدمی استقلال
-
"دنا پلاس اتومات" بخریم یا "تارا اتومات؟"/ مقایسه اختصاصی "آخرینخودرو" از دو خودروی پرطرفدار
-
فشار آبرو چند برابر کن ....
-
فرمانده کل قوا: ملت ایران در مقابل جنگ تحمیلی محکم میایستد همانگونه که در مقابل صلح تحمیلی نیز محکم خواهد ایستاد
-
چالش/ بازیکن داخل تصویر رو حدس بزن (16)
-
5 نشانه ضعیف شدن ریه ها و بهترین روش تقویت آن چیست؟
-
لندکروزر یا ۲۰۶؟ / مقایسه جالب "آخرینخودرو" به بهانه سخنان جنجالی میرسلیم
-
پایان زودهنگام گنبد آهنین؟ اسرائیل مجبور به جیرهبندی موشکها شد
-
سپ، برترین شرکت در خاورمیانه شد
-
واکنش عراقچی به تجاوز امروز آمریکا به تأسیسات هستهای فردو، نطنز و اصفهان
-
چالش/ بازیکن داخل تصویر رو حدس بزن (28)
آخرین اخبار
-
نماینده مجلس: آزادراه خرمآباد - اراک مزایای اقتصادی برای کشور دارد
-
۶ کیلومتر از مسیر تردد زائران اربعین حسینی تعریض و بهسازی شد
-
ترامپ: خروج آمریکا از افغانستان «بیکفایتی فاجعهبار» بود
-
رتبه اول آذربایجان شرقی در پایش فنی مجرمین
-
پایان آسفالت معابر هدف طرح بازآفرینی شهری در کرمان
-
شرط اوکراین برای پایان جنگ با روسیه
-
اجرای ۲۹۱ پروژه عمرانی و خدماتی در بندر بوشهر
-
انهدام باند سارقان کابل و تجهیزات انتقال نیرو در مازندران
-
مبارز برجسته لبنانی بعد از ۴۱ سال از زندان فرانسه آزاد میشود
-
حسابرسی تراکنشهای بانکی با مبالغ بالا در لرستان آغاز شد
-
پایتخت خادمان حسین(ع) آماده پذیرایی از حضور میلیونی زائران است
-
کشت در کیسههای امید؛ «گروبگ» ناجی گلخانههای سیستان میشود؟
-
ارتقای کیفیت و حفظ محرمانگی در اولویت مرکز ناباروی بیرجند در محل جدید است
-
بسیاری دانشآموزان سیستان و بلوچستان در خواندن و نوشتن مشکل دارند!
-
پیام آیتالله سیستانی در پی فاجعه الکوت عراق
سایر اخبار مرتبط
نظرات
ثبت نظر
مهمترین اخبار
تاسیس صندوق تابآوری دیجیتال میتواند به زیرساختی پایدار برای حمایت از اقتصاد نوآور تبدیل شود
پنجشنبه 27 تیر 1404 - 12:10:00
شرط جدید صادرات با کارتهای بازرگانی بدون رتبه بندی
پنجشنبه 27 تیر 1404 - 11:58:00
یارانه دهکهای اول تا سوم واریز شد
پنجشنبه 27 تیر 1404 - 11:41:15
واکنش وزیر ارتباطات به اینترنت طبقاتی
پنجشنبه 27 تیر 1404 - 10:45:40
۱۸ میلیون فقره بیمهنامه بفروش رسید
پنجشنبه 27 تیر 1404 - 10:22:00